66元一支的钟薛高,知识产权保护如何?
2021-06-17商标资讯
近日,#钟薛高雪糕最贵一支66元#登上热搜,被称为“雪糕界的爱马仕”
近日,#钟薛高雪糕最贵一支66元#登上热搜,被称为“雪糕界的爱马仕”,网友表示“是它太贵还是我不配”?
钟薛高是一家创立于2018年的中式雪糕品牌,以独特的“瓦片”形状,体现美美的中国风,短时间内迅速走红。

钟薛高这种瓦片设计,不仅仅迎合了国潮风尚,而且其模具还经过了专利认证,已申请了21件专利。
![1623900900799871.png FHKWVBJ_N%N~$]LTT]GRYAT.png](https://static.xcx.gw66.vip/uploadfile/image/0/9/162/2021-06/16239010461246.png)
那么,商标保护方面钟薛高又表现如何呢?
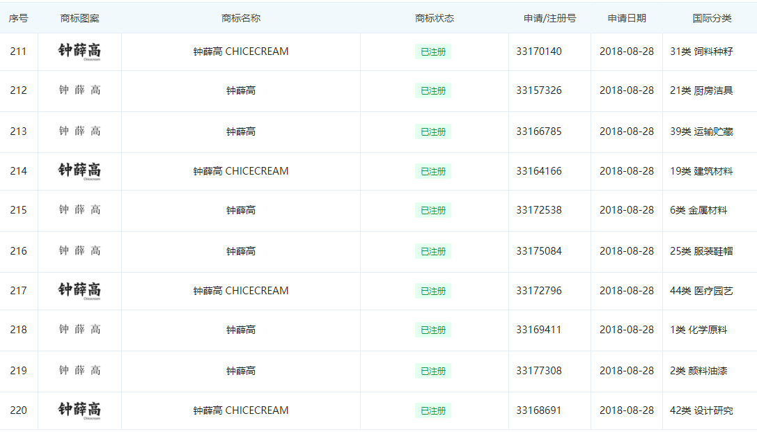
根据查询,钟薛高食品(上海)有限公司名下有256件商标,最早申请于2017年12月,陆续注册了“钟薛高”、“中薛高”、“钟郭薛高”,以及近似的“种许高”、“种薛高”、“重薛高”等文字商标,目前都已成功注册。
2018年,钟薛高品牌再次对具有设计感的“钟薛高 CHICECREAM”文字品牌logo进行了商标保护,全类别覆盖。
![1623900924746051.png 1PLG7$KY2~02MPP)]{~PXQ7.png](https://static.xcx.gw66.vip/uploadfile/image/0/9/162/2021-06/16239010457304.png)
此外,钟薛高名下产品有很多个名字,包括“开心果柚子冰”、“玫荔萄萄冰”、“话梅肉肉冰”、“杏子奶冰”等等,对于这些名字,钟薛高也申请了商标注册,商标保护意识很强。

作为一家网红雪糕品牌,钟薛高在知识产权方面的表现很亮眼,也十分必要。网红品牌最重要的就是品牌影响力,斥重金营销打造的品牌,如果不做好商标保护,很容易出现被山寨、被假冒的情况,到时候维权无门,前期的所有努力可能就付诸东流了。
当下,正是网红品牌流行的时代,任何一家品牌都应做好知识产权保护工作,为品牌保驾护航,助力长远发展。
